Convotherm mini 6.10 - Abmessungen und Anschlusspositionen

Inhalt

mini 6.10 easyTouch

mini 6.10 easyTouch Marine

mini mobil 6.10 easyTouch

mini 6.10 Standard

mini 6.10 Standard Marine

mini mobil 6.10 Standard

mini 6.10 easyTouch

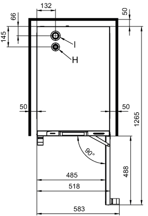
Vorderansicht

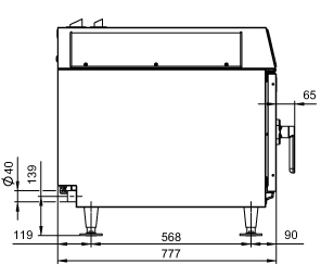
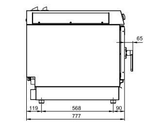
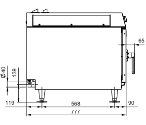
Seitenansicht

Draufsicht mit Wandabständen

Anschlüsse an der Unterseite

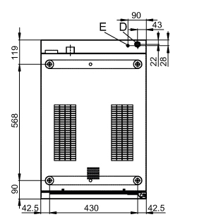
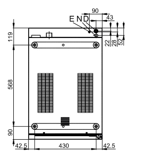
Rückansicht

Bedeutung der markierten Elemente

A

Wasseranschluss (Weichwasser (gefiltert), für Wassereinspritzung)

B

Wasseranschluss (Kaltes Wasser (ungefiltert), für Reinigung)

C

Abwasseranschluss 1.5"

D

Elektroanschluss

E

Potenzialausgleich

F

Klarspülmittelanschluss

G

Reinigungsmittelanschluss

H

Abluftstutzen ⌀ 30 mm

I

Belüftungsstutzen ⌀ 43 mm

M

Sicherheitsüberlauf 60 mm x 20 mm

N

Ethernet Anschluss RJ45

P

mini Kondensationshaube Pro - optional

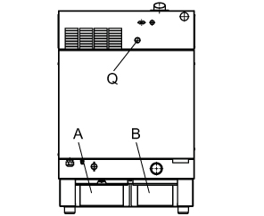
Q

Rücksetzen STB

mini 6.10 easyTouch Marine

Vorderansicht

Seitenansicht

Draufsicht mit Wandabständen

Anschlüsse an der Unterseite

Rückansicht

Bedeutung der markierten Elemente

A

Wasseranschluss (Weichwasser (gefiltert), für Wassereinspritzung)

B

Wasseranschluss (Kaltes Wasser (ungefiltert), für Reinigung)

C

Abwasseranschluss 1.5"

D

Elektroanschluss

E

Potenzialausgleich

F

Klarspülmittelanschluss

G

Reinigungsmittelanschluss

H

Abluftstutzen ⌀ 30 mm

I

Belüftungsstutzen ⌀ 43 mm

M

Sicherheitsüberlauf 60 mm x 20 mm

N

Ethernet Anschluss RJ45

Q

Rücksetzen STB

mini mobil 6.10 easyTouch

Vorderansicht

Seitenansicht

Draufsicht mit Wandabständen

Anschlüsse an der Unterseite

Rückansicht

Bedeutung der markierten Elemente

A

Trinkwasserschublade

B

Abwasserschublade

D

Elektroanschluss

E

Potenzialausgleich

H

Abluftstutzen ⌀ 30 mm

I

Belüftungsstutzen ⌀ 43 mm

N

Ethernet Anschluss RJ45

Q

Rücksetzen STB

mini 6.10 Standard

Vorderansicht

Seitenansicht

Draufsicht mit Wandabständen

Anschlüsse an der Unterseite

Rückansicht

Bedeutung der markierten Elemente

A

Wasseranschluss (Weichwasser (gefiltert), für Wassereinspritzung)

B

Wasseranschluss (Kaltes Wasser (ungefiltert), für Reinigung)

C

Abwasseranschluss 1.5"

D

Elektroanschluss

E

Potenzialausgleich

F

Klarspülmittelanschluss

G

Reinigungsmittelanschluss

H

Abluftstutzen ⌀ 30 mm

I

Belüftungsstutzen ⌀ 43 mm

M

Sicherheitsüberlauf 60 mm x 20 mm

P

mini Kondensationshaube Pro - optional

Q

Rücksetzen STB

mini 6.10 Standard Marine

Vorderansicht

Seitenansicht

Draufsicht mit Wandabständen

Anschlüsse an der Unterseite

Rückansicht

Bedeutung der markierten Elemente

A

Wasseranschluss (Weichwasser (gefiltert), für Wassereinspritzung)

B

Wasseranschluss (Kaltes Wasser (ungefiltert), für Reinigung)

C

Abwasseranschluss 1.5"

D

Elektroanschluss

E

Potenzialausgleich

F

Klarspülmittelanschluss

G

Reinigungsmittelanschluss

H

Abluftstutzen ⌀ 30 mm

I

Belüftungsstutzen ⌀ 43 mm

M

Sicherheitsüberlauf 60 mm x 20 mm

Q

Rücksetzen STB

mini mobil 6.10 Standard

Vorderansicht

Seitenansicht

Draufsicht mit Wandabständen

Anschlüsse an der Unterseite

Rückansicht

Bedeutung der markierten Elemente

A

Trinkwasserschublade

B

Abwasserschublade

D

Elektroanschluss

E

Potenzialausgleich

H

Abluftstutzen ⌀ 30 mm

I

Belüftungsstutzen ⌀ 43 mm

Q

Rücksetzen STB


nach oben