| Inhalt | 
| Vorderansicht | Seitenansicht | |
| 
 | 
 | |
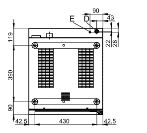
| Draufsicht mit Wandabständen | Anschlüsse an der Unterseite | |
| 
 | 
 | |
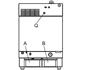
| Rückansicht | Bedeutung der markierten Elemente | |
| 
 | A | Wasseranschluss (Weichwasser (gefiltert), für Wassereinspritzung) | 
| B | Wasseranschluss (Kaltes Wasser (ungefiltert), für Reinigung) | |
| C | Abwasseranschluss 1.5" | |
| D | Elektroanschluss | |
| E | Potenzialausgleich | |
| F | Klarspülmittelanschluss | |
| G | Reinigungsmittelanschluss | |
| H | Abluftstutzen ⌀ 30 mm | |
| I | Belüftungsstutzen ⌀ 43 mm | |
| M | Sicherheitsüberlauf 60 mm x 20 mm | |
| N | Ethernet Anschluss RJ45 | |
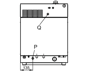
| P | mini Kondensationshaube Pro - optional | |
| Q | Rücksetzen STB | |
| Vorderansicht | Seitenansicht | |
| 
 | 
 | |
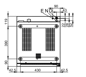
| Draufsicht mit Wandabständen | Anschlüsse an der Unterseite | |
| 
 | 
 | |
| Rückansicht | Bedeutung der markierten Elemente | |
| 
 | A | Wasseranschluss (Weichwasser (gefiltert), für Wassereinspritzung) | 
| B | Wasseranschluss (Kaltes Wasser (ungefiltert), für Reinigung) | |
| C | Abwasseranschluss 1.5" | |
| D | Elektroanschluss | |
| E | Potenzialausgleich | |
| F | Klarspülmittelanschluss | |
| G | Reinigungsmittelanschluss | |
| H | Abluftstutzen ⌀ 30 mm | |
| I | Belüftungsstutzen ⌀ 43 mm | |
| M | Sicherheitsüberlauf 60 mm x 20 mm | |
| N | Ethernet Anschluss RJ45 | |
| Q | Rücksetzen STB | |
| Vorderansicht | Seitenansicht | |
| 
 | 
 | |
| Draufsicht mit Wandabständen | Anschlüsse an der Unterseite | |
| 
 | 
 | |
| Rückansicht | Bedeutung der markierten Elemente | |
| 
 | A | Trinkwasserschublade | 
| B | Abwasserschublade | |
| D | Elektroanschluss | |
| E | Potenzialausgleich | |
| H | Abluftstutzen ⌀ 30 mm | |
| I | Belüftungsstutzen ⌀ 43 mm | |
| N | Ethernet Anschluss RJ45 | |
| Q | Rücksetzen STB | |
| Vorderansicht | Seitenansicht | |
| 
 | 
 | |
| Draufsicht mit Wandabständen | Anschlüsse an der Unterseite | |
| 
 | 
 | |
| Rückansicht | Bedeutung der markierten Elemente | |
| 
 | A | Wasseranschluss (Weichwasser (gefiltert), für Wassereinspritzung) | 
| B | Wasseranschluss (Kaltes Wasser (ungefiltert), für Reinigung) | |
| C | Abwasseranschluss 1.5" | |
| D | Elektroanschluss | |
| E | Potenzialausgleich | |
| F | Klarspülmittelanschluss | |
| G | Reinigungsmittelanschluss | |
| H | Abluftstutzen ⌀ 30 mm | |
| I | Belüftungsstutzen ⌀ 43 mm | |
| M | Sicherheitsüberlauf 60 mm x 20 mm | |
| P | mini Kondensationshaube Pro - optional | |
| Q | Rücksetzen STB | |
| Vorderansicht | Seitenansicht | |
| 
 | 
 | |
| Draufsicht mit Wandabständen | Anschlüsse an der Unterseite | |
| 
 | 
 | |
| Rückansicht | Bedeutung der markierten Elemente | |
| 
 | A | Wasseranschluss (Weichwasser (gefiltert), für Wassereinspritzung) | 
| B | Wasseranschluss (Kaltes Wasser (ungefiltert), für Reinigung) | |
| C | Abwasseranschluss 1.5" | |
| D | Elektroanschluss | |
| E | Potenzialausgleich | |
| F | Klarspülmittelanschluss | |
| G | Reinigungsmittelanschluss | |
| H | Abluftstutzen ⌀ 30 mm | |
| I | Belüftungsstutzen ⌀ 43 mm | |
| M | Sicherheitsüberlauf 60 mm x 20 mm | |
| Q | Rücksetzen STB | |
| Vorderansicht | Seitenansicht | |
| 
 | 
 | |
| Draufsicht mit Wandabständen | Anschlüsse an der Unterseite | |
| 
 | 
 | |
| Rückansicht | Bedeutung der markierten Elemente | |
| 
 | A | Trinkwasserschublade | 
| B | Abwasserschublade | |
| D | Elektroanschluss | |
| E | Potenzialausgleich | |
| H | Abluftstutzen ⌀ 30 mm | |
| I | Belüftungsstutzen ⌀ 43 mm | |
| Q | Rücksetzen STB | |
